2021年高考已经拉下帷幕。至今为止,已有不少省份公布了高考成绩,可谓是有人欢喜有人忧。那么2021年各地的高考分数线到底如何呢?本文就为大家带来全国31个省市的高考分数线2021最新整理并为大家附上2021年各地高考志愿填报时间安排,供大家参考。
31省市高考分数线全部公布
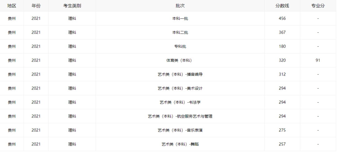
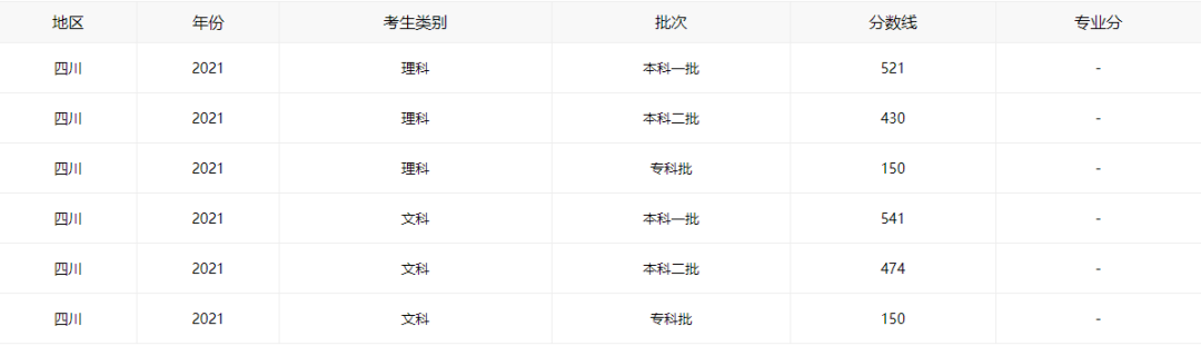
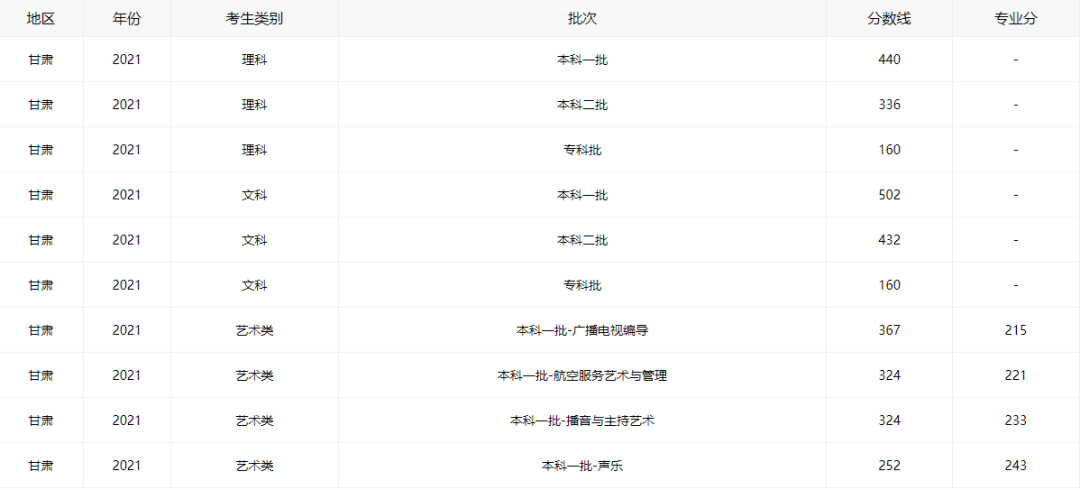
全国甲卷适用省市分数线




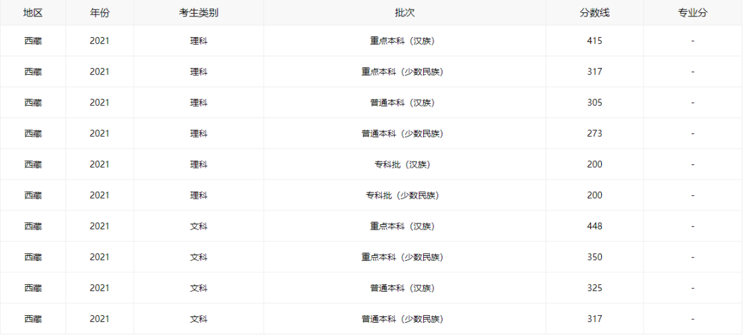
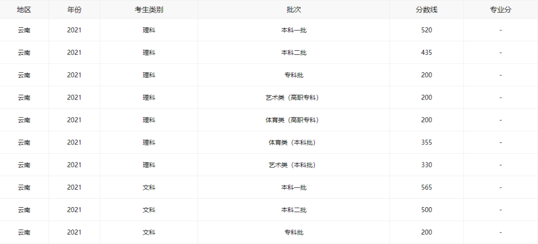
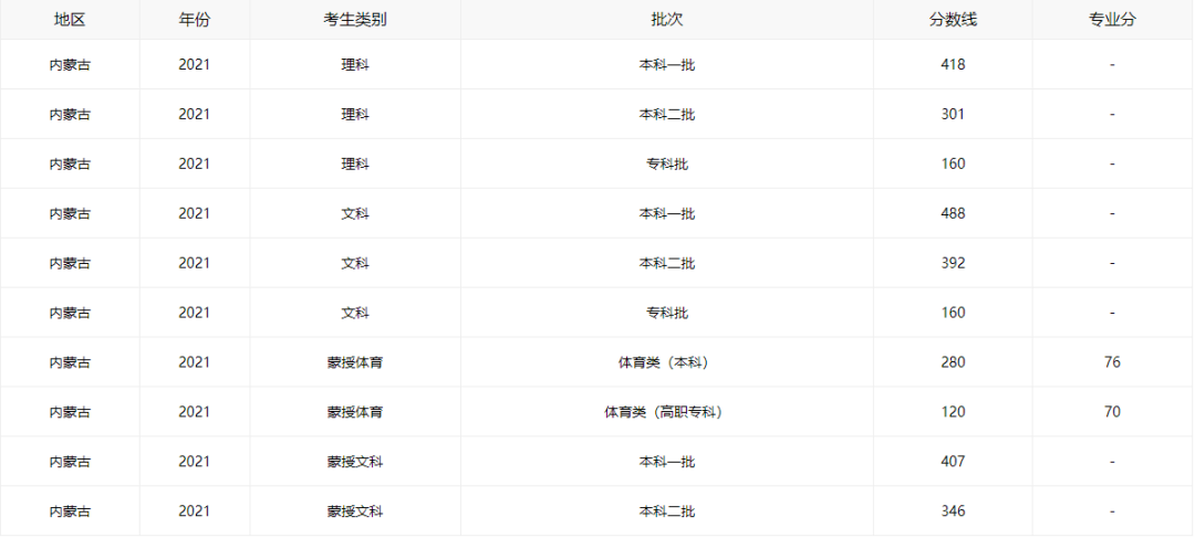
全国乙卷适用省市分数线(缺新疆)











新高考全国Ⅰ卷适用省市分数线(缺山东、福建)





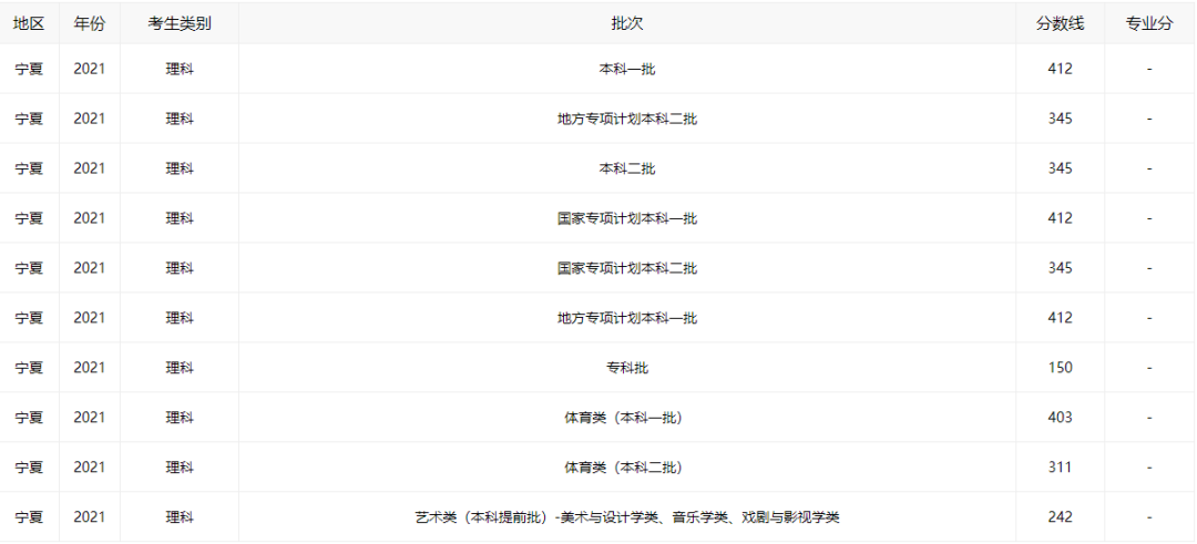
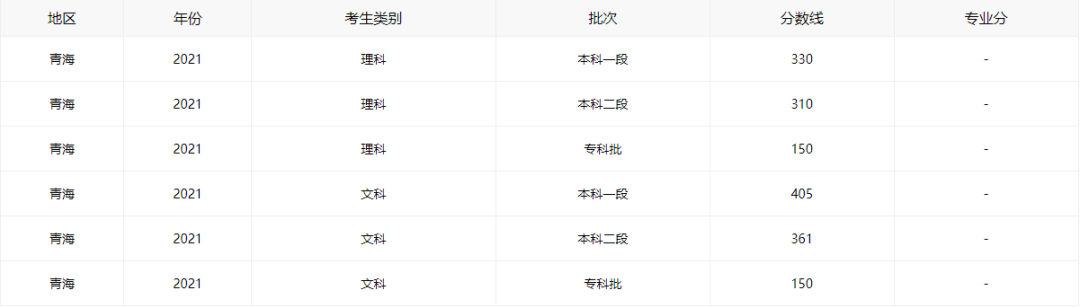
新高考全国Ⅱ卷适用省市分数线



天津卷、上海卷、北京卷分数线





传统高考地区文理难度分析
1.理科
全国卷理科分数线整体下降,尤其乙卷地区,降幅区间在20分左右,其中吉林下降最多,高达35分。甲卷地区,降分区间在10分左右,其中云南下降15分。
虽然分数线剧降,但高分段竞争仍然激烈,报考更多以位次为参考。但对于中档考生而言,分数排名会更加集中,想要精准定位难度变大。
2.文科
甲卷文科分数线整体上升,其中广西上涨30分,是近3年最高的一次。全国乙卷呈现两种趋势:
①安徽、江西等原I卷地区普遍上涨,尤其安徽文科二批都要高于理科一批线。相关地区考生也不必慌张,建议更多参照往年录取位次择校。
②吉林、内蒙古等原II卷地区,分数线下降明显,目前降幅都在10分以上,内蒙古降幅最高32分。分数线降低,高分段密度降低报考可选择性相对宽松,但中分段志愿难度加大。
新高考地区文理科难度分析
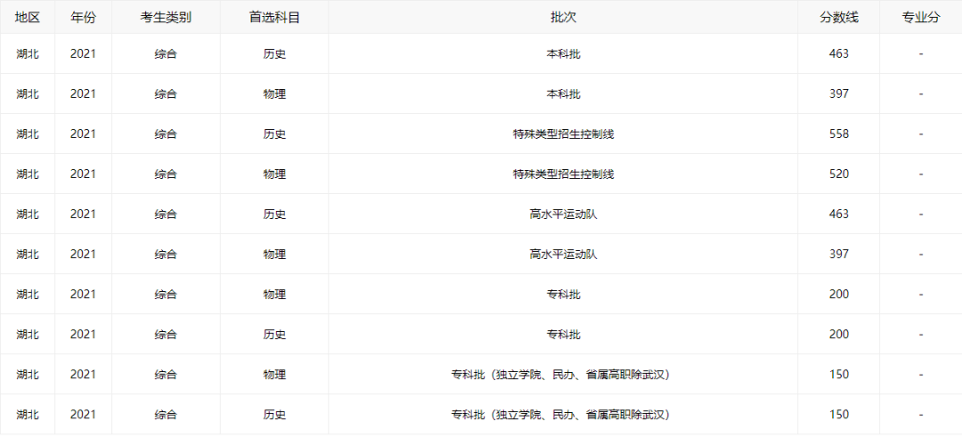
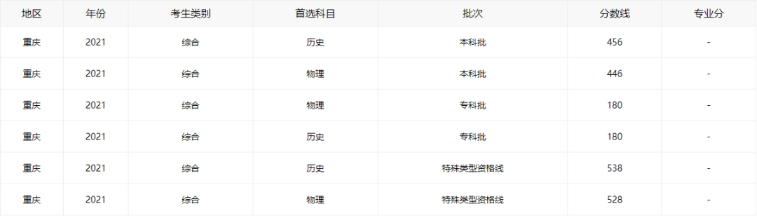
首年新高考的辽宁和重庆,也是冰火两重天,辽宁的历史组特招线相比去年文科分数线下降了33分,而重庆的物理组特招线比去年理科线增加了28分!
2021年各地高考志愿填报时间安排表

